近日,一则关于全红婵的新闻再次引发外界的关注,这位14岁的奥运冠军因为迅速走红,因此她同名的“全红婵”商标被抢注。为此,全红婵本人也在社交媒体中进行了回应。虽然才14岁,但全红婵也知道此事对于自己很重要,用了一个“不”字与愤怒的表情进行回应。
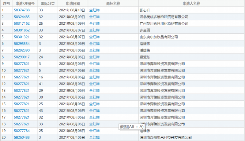
近日,报道称有20条“全红婵”商标正在申请中,国际分类涉及食品、服装鞋帽、日化用品等,申请人涉及5家企业以及4个个人,20条商标信息的状态均为“正等待受理”。然而我们可以发现,这些商标都是抢注的,因为全红婵在8月5日获得了东京奥运会跳水女子单人10米跳台的冠军后迅速走红,因此最早从8月5日开始,就有商家开始抢注“全红婵”商标,明显就是蹭热度。
根据相关法律人士的科普,这样的行为,可以认定为恶意抢注商标。据悉,全红婵个人或其所在单位,可以依据相关法律提出商标异议申请、商标无效宣告等方式维护自身合法权利。
此外,“全红婵”商标最早的申请日期为8月5日,申请人为深圳市连州电气科技开发有限公司,而这一天正是全红婵跳水10米台夺金的当天。
中国商标网信息显示,这5家企业中有三家为广东企业,其中深圳市奔骏投资发展有限公司在8月6日申请了10条“全红婵”商标,涉及日化用品、食品、餐饮、教育娱乐等。南都记者联系了深圳市奔骏投资发展有限公司,其工作人员表示确实申请了“全红婵”商标,至于申请此商标原因,该工作人员不愿透露,并表示“有没有违规申请,由相关部门判断,进而决定是否驳回。”
而广州望川秀日用化妆品有限公司在8月9日申请了“全红婵”商标,类别为服装、鞋、帽。为何会想申请此商标?该公司的工作人员告诉南都记者,目前商标的状态是正在等待受理,“我们只是试着提交一下,没有其他想法,能通过就通过,不通过就罢。”
对此,广东法制盛邦律师事务所赖芃律师表示,奥运冠军“全红婵”商标被多家公司抢注,这可以认定为恶意抢注商标,上述抢注的商标在商标实质审查阶段一般会被商标局以恶意抢注,具有不良的社会影响为由驳回的。
赖芃介绍称,《商标法》第三十二条规定,申请商标注册不得损害他人现有的在先权利,也不得以不正当手段抢先注册他人已经使用并有一定影响的商标。
姓名权是公民合法的在先权利,且全红婵已为知名度较高的公众人物姓名,假如个别商标侥幸未被商标局驳回,全红婵个人或其所在单位,可以依据《商标法》、《商标法实施条例》提出商标异议申请、商标无效宣告等方式维护自身合法权利。
此外,国家知识产权局印发了《打击商标恶意抢注行为专项行动方案》,决定自2021年3月起,集中开展打击商标恶意抢注行为专项行动,严厉打击严重违反诚实信用原则、违背公序良俗、扰乱商标注册管理秩序以及易造成严重不良社会影响的典型商标恶意抢注行为。
该专项行动方案列举了重点打击的10种商标恶意抢注、图谋不当利益,扰乱商标注册管理秩序,造成较大不良社会影响的行为,其中包括恶意抢注具有较高知名度的公众人物姓名、知名作品或者角色名称的;恶意抢注他人具有较高知名度或者较强显著性的商标或者其他商业标志,损害他人在先权益的等。
国家知识产权局在上述专项行动方案中提到,要密织规制恶意抢注法律网,推动将商标恶意抢注行为的行政处罚信息依法依规纳入全国公共信用信息目录,记入信用档案。在深入开展“蓝天”专项整治行动中,加大对商标代理机构从事商标恶意抢注行为的打击力度,情节严重的,各地区应依法报请停止受理其办理商标代理业务。
那么,全红婵怎么看待这样的行为呢?答案是,她也很气愤!在相关报道后,全红婵也站了出来,表示不同意自己的姓名被抢注商标,她写道:“不!”随后留了一个愤怒的表情。
实际上,除了全红婵,包括杨倩在内的很多其他奥运明星商标都在被注册,为此,网友们也是非常气愤,很多声音都在支持全红婵、杨倩等人保护自己,全红婵虽然只有14岁,但迅速走红后,她也成长了很多,显然除了奥运金牌这个荣誉,奥运冠军身份带来的热度让全红婵自己也是“被迫”学习到了更多如何保护自己的方式。
